
Фильтр
Чем занимались и что собирали зарубежные радиолюбители в начале 70-х годах прошлого века. 4 часть
Добрый день дорогие друзья. Я в свободное время периодически просматриваю зарубежные радиолюбительские журналы, делаю скриншоты наиболее интересных статей, а потом эти журналы удаляю из своего архива, чтобы больше в них не рыться. На моем канале уже были публикации: «Чем занимались и что собирали зарубежные радиолюбители в 60-х годах прошлого века», позже вышла 2 часть, 3 часть и 4 часть, и далее вышла публикация «Чем занимались и что собирали зарубежные радиолюбители в 70-х годах прошлого века» и продолжение к ней 2 часть и 3 часть, и по многочисленным просьбам моих читателей в комментариях к этим статьям, сегодня выйдет продолжение публикаций, чем занимались и что собирали зарубежные радиолюбители в начале 70-х годах прошлого века на примере болгарского журнала «Радио и телевизия» за 1976 г. Скажу честно, что наш журнал «Радио» в то время был более интересен и содержателен, и очень много статей и схем с него болгары копировали и публиковали в своем журнале. Качество сканов этого
Показать еще
Приставка к мультиметру для аналогового измерения частоты
Добрый день дорогие друзья Мне очень нравиться просматривать зарубежные радиолюбительские журналы второй половины прошлого века, и наверное это связано с моим возрастом (мне 68 лет), и изучая статистику посещений моего канала, у меня сложилось мнение, что это мое увлечение должны разделять большинство посетителей моего канала. Единственное, что меня смущает в статистике посещений, это то на каких устройствах просматривают публикации моего канала. По всей видимости, это связано с моим подсевшим зрением, и мне не совсем понятно, что можно рассмотреть на экране смартфона. Ну, а теперь давайте вернемся к теме нашего разговора. Недавно мне попадалась ссылка на скачивание архива немецкого журнала Funkamateur, в переводе «радиолюбитель». Я конечно же скачал подшивку этого журнала, но к сожалению, если английский язык я достаточно хорошо знаю, и проблем у меня с ним нет, то немецкий язык я не знаю от слова совсем, и в журналах просматривал только картинки, и останавливался на статьях с наибо
Показать еще
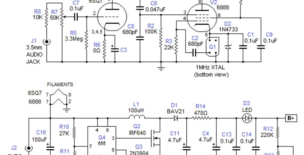
Простой СВ вещательный АМ передатчик и из доступных деталей
Добрый день дорогие друзья. Я как продолжаю просматривать зарубежные радиолюбительские сайты и журналы, и мне попалось описание простого СВ АМ передатчика небольшой мощности, передачи с которого можно принимать на старые СВ АМ радиоприемники. Передатчик работает на фиксированной частоте, стабилизированной кварцем и имеет мощность, которой достаточно, чтобы покрыть площадь квартиры или небольшого дома. Схема простого СВ АМ передатчика Подобные очень похохие схемы гуляют по зарубежным радиолюбительским сайтам и форумах, и я тоже о них писал на моем канале в публикации: «Конструкции зарубежных радиолюбителей. СВ АМ радиопередатчик малой мощности». В этой же статье описан принцип работы методика настройки подобных передатчиков, и кому будет это интересно можете ознакомиться. Собирается передатчик на самодельной двухсторонней печатной плате Нижняя сторона двухстороннего текстолита сохранена целиком и в нескольких местах соединена с верхней частью сквозными отверстиями. Изготовить так
Показать еще
Что радиолюбители интересного могут найти и купить на барахолке. Вторая часть ноября 2025 г.
Добрый день дорогие друзья. В предыдущем обзоре «Что радиолюбители интересного могут найти и купить на барахолке. Ноябрь 2025 г.», я писал о причинах задержек в публикациях на моем канале, повторяться не буду, кому интересно могут посмотреть там. И так вот получилось что сейчас уже февраль, а я еще не все про ноябрь рассказал, но сегодня это исправлю. Единственная проблема, что в этом обзоре за давностью рассматриваемых событий, я могу не совсем корректно назвать цены. А теперь давайте посмотрим, что я интересного увидел на барахолке во второй половине ноября 2025 г. Хочу сразу предупредить, что некоторые выставленные на барахолке экземпляры товаров, продаются не сразу, а таскаются на барахолку месяцами, а то и годами, поэтому их фото и описание могут в моих обзорах иногда повторяться. И как всегда мы начнем наш обзор с больших советских радиоприёмников. Первым у нас будет радиоприёмник Верас РП-225 в очень хорошем внешнем состоянии и с целой антенной и по утверждению Продавца в рабо
Показать еще
Зарубежные радиоконструкторы. Двухламповый вещательный АМ-передатчик
Добрый день дорогие друзья. Я уже неоднократно на страницах моего канала рассказывал о том, что как у нас так и зарубежном в настоящее время стали так называемые Diy kit (радиоконструкторы), созданные радиолюбителями одиночками. Иногда это просто печатные платы с шелкографией, сделанные в Китае на заводском оборудовании, а иногда частично или полностью укомплектованные деталями, и тоже в основном китайскими. Для примера можете посмотреть на моем канале хотя бы эту публикацию: «Российские радиоконструкторы. Плата лампового усилителя радиолы Урал 111» А сегодня я хочу представить Вашему вниманию Diy kit двухлампового АМ-передатчика разработанного зарубежным радиолюбителем. В комплект входит только одна несобранная печатная плата размером 51х102 мм. Все остальные необходимые компоненты для завершения сборки, такие как лампы, разъемы, сетевой адаптер и другие дискретные компоненты, в комплект не входят и приобретаются отдельно. Плата со стороны деталей Плата со стороны пайки Стоит эта пл
Показать еще
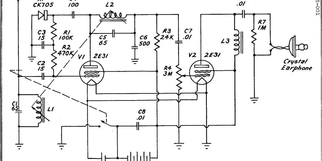
Дотранзисторный карманный ламповый радиоприемник «PRIVAT-EAR»
Добрый день дорогие друзья. Продолжаю перебирать и подчищать свои закрома (архивы) и вот мне в очередной раз попалось то, что будет очень интересно моим читателям. И сегодня я предлагаю Вам ознакомится с субминиатюрным двухламповым радиоприемником Privat-ear Pocket Radio 5-DS-001 Выпускался радиоприемник Privat-ear выпускался с 1949 года американской компанией «Electronics Systems», г. Канзас-Сити, штат Миссури, еще до того как компания Regency выпустила свой карманный транзисторный радиоприемник TR-1 в 1954 году. Приемник имел размеры 154 x 63,5 x 22 мм (приблизительно как современные смартфоны, только чуть толще) и питался от двух батареек типа АА (накал ламп) и одной батареи 22,5 вольт (анодное напряжение). Радиоприемник Privat-ear рядом с коробкой Радиоприемник Privat-ear в коробке Схема радиоприемника Privat-ear Радиоприемник Privat-ear собрался по регенеративной схеме на двух сверхминиатюрные радиолампы 2E31, разработанные еще во время войны для управлением взрывателей зенитных
Показать еще
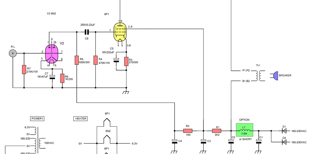
Японский радиоконструктор с китайскими комплектующими. УНЧ на лампах 6N2 и 6P1.
Добрый день дорогие друзья. Я продолжаю просматривать различные предложения для радиолюбителей, и в частности ламповые УНЧ, сравнивать предложения российских производителей с зарубежными, и сегодня мы рассмотрим японский ламповый УНЧ. По курсу ЦБ РФ на 27 января 2026 года 1 японская иена = 0,4911 рубля. Как видите, японцы предлагают цену без учета налогов, так и с учетом налога. Думаю, что без учета налогов они продадут. Тогда стоимость этого УНЧ составит 2150 руб., но нужно учитывать , что это цена без ламп и трансформаторов. Недавно на моем канале в публикации: «Российские радиоконструкторы. Плата лампового усилителя радиолы Урал 111» мы рассматривали подобное предложение с доски объявлений Авито, но там просто две платы без ничего, только с ламповыми панельками стоили 1500 руб. Более близко по техническим параметрам предложение с AliExpress И очень внешне похожая плата, в комплекте с лампами и выходными трансформаторами. А теперь давайте всё таки вернемся к нашему усилител
Показать еще
Простой чувствительный металлоискатель на 3 транзисторах для начинающих радиолюбителей.
Добрый день дорогие друзья. Я просматриваю свои архивы, и продолжаю из них выбирать то, что может представлять интерес моим читателям, и сегодня расскажу про простой чувствительный металлоискатель на 3 транзисторах для начинающих радиолюбителей, и если мне не изменяет память, описание я нашел на одном из индийских радиолюбительских форумов. Конечно же, среди моих читателей сразу найдутся такие, кто скажет: а зачем он нужен, если есть очень популярный у наших радиолюбителей металлоискатель «Пират». Кстати в Wildberries я недавно заказал себе плату металлоискателя «Пират», может быть когда ни будь и соберу, тем более что все детали у меня к нему есть. Вот схема к этой плате А это спецификация деталей Есть в продаже и более продвинутая плата к металлоискателю «Пират», но она и стоит дороже Вот к ней схема Ну и на ОЗОНЕ предлагают купить плату самого простого металлоискателя Но, тем не менее, не смотря на огромный выбор предложений плат и наборов для сборки металлоискателей, радиол
Показать еще
загрузка
Показать ещёНапишите, что Вы ищете, и мы постараемся это найти!